Choose your country of delivery to see prices and products for your location.
Choose tax zone / country of delivery
Please note the permissible order quantity of 1 Pcs..
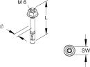
Push-through anchor with metric connection thread M 6, including galvanised flange nut. Permissible loads for centric tension, shear load and diagonal tension at any angle as well as anchor characteristics and component dimensions for concrete strength classes = B 25 or C 20/25 and = B 55 or C 50/60. For the design, the entire approval notice no.: ETA-18/0541 must be observed! For outdoor use, we recommend through-bolts made of stainless steel! For use in functional maintenance or for suspended ceilings with fire protection requirements (MLAR 2/2015), please observe additional regulations! Range of application: The anchor may be used as a multiple anchor for anchoring light ceiling linings and suspended ceilings according to DIN 18168, as well as for statically comparable anchorings up to 1 kN/m² - also in the tension zone generated from load stresses. Setting of the push-through anchor that the effective anchorage depth is complied with. Compliance is ensured by observing the permissible anchor thickness (clamping range). Technical data Connection thread: M 6 Total length L: 50 mm Nominal bore Ø: 6 mm Clamping range t fix: = 5 mm Effective anchorage depth h ef: 30 mm Recommended torque: 4 Nm Width across flats: 10 Material: Steel, galvanised according to DIN EN ISO 2081/4042, blue passivated Approval no.: ETA-18/0541 DoP NI001
There are no reviews yet.