#global.skipToContent# #global.skipToSearch# #global.skipToNav#

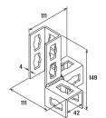
Elément de fixation Fischer PFUF 3DL A4 NOUVEAU

État de l'article : neuf et dans son emballage d'origine
  • Fabricants:
  • EAN: 4048962444513
  • Numéro d'article Heiz24: WS9416350
  • TARIC: 73181500
  • Pays d'origine: DE
  • catégorie: NOUVEAU
€ 115,85
inclus 19% TVA , plus Expédition
de Prix unitaire
10 € 102,56*
Google MyBusiness Badge
4.4
basé sur 1219 Évaluations