Wähle dein Lieferland, um Preise und Artikel für deinen Standort zu sehen.
Auswahl Steuerzone / Lieferland
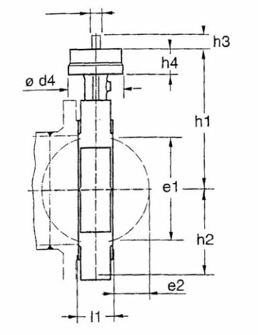
Weichdichtende zentrische AbsperrklappeBOAX-S mit Taupunktsperre. EinteiligesGehäuse mit Gewindeflanschaugen (Typ 4)aus Sphäroguß EN-GJS-400-15 (JS1030).Endarmatur und einseitig Abflanschen au-torisiert. Voll isolierbar n. HeizAnlV.Antriebswelle rostfreier Stahl 1.4029,Scheibe rostfreier Stahl Typ 18-12(1.4301). Ringbalg aus EPDM-XU für Tem-peraturen von -10 bis 130 GrC, DIN-DVGW-Zulassung für Wasser nach DIN 3547. FürWasser-Heizungsanlagen DIN 4751-1 bis 3,Klima-, Kühl-, Wasserversorgungs- Trink-wasser- und Brauchwasseranlagen.Hergestellt frei von lackbenetzungsstö-renden Substanzen.Baulängen nach EN 558-1-20, Kopfflanschnach ISO 5211, Kennzeichnung nach EN 19.Erfüllt die Sicherheitsanforderungen desAnhangs 1 der Europäischen Druckgeräte-richtlinie 97/23/EG (DGR) für Fluide derGruppe 2.
Es gibt noch keine Bewertungen.